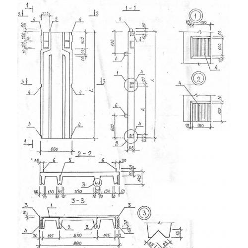
Вентблок ВБ 3 представляет собой специальное железобетонное изделие, предназначенное для обеспечения вентиляции и циркуляции воздуха в зданиях и сооружениях. Он имеет компактные размеры и легкий вес, что облегчает его установку и обслуживание. Вентблок ВБ 3 отличается высокой прочностью и долговечностью, что обеспечивает надежную защиту от внешних воздействий и сохраняет свои функциональные характеристики на протяжении длительного времени.
Вентблок ВБ 3 широко используется в строительстве и реконструкции различных объектов: жилых домов, офисных зданий, промышленных сооружений и других. Он эффективно обеспечивает вентиляцию помещений, предотвращает скопление влаги и плесени, обеспечивает комфортные условия для пребывания людей. Вентблок ВБ 3 также применяется в системах вентиляции и кондиционирования воздуха, обеспечивая оптимальный воздушный обмен и поддерживая здоровый микроклимат в помещениях.









